2017年 立命館慶祥中学校 算数(3)
今回は,大問ⅣとⅤを解説します。
大問Ⅳ

〔1〕
面白さ☆ 難度A
2つの図形が重なり始めてから6秒後の2つの図形が重なった部分は,
面積が24㎠の長方形になります。
図形「あ」は秒速1㎝で移動するので,
このときの長方形の横の長さは,1×6=6(㎝),
たての長さは,24÷6=4(㎝)になっています。
このときの2つの図形の重なり方は下の図のようになります。

したがって,図形「あ」で,1辺10㎝の正方形から切り取った正方形の1辺の長さは6㎝です。
答え 6㎝
〔2〕
面白さ☆ 難度A
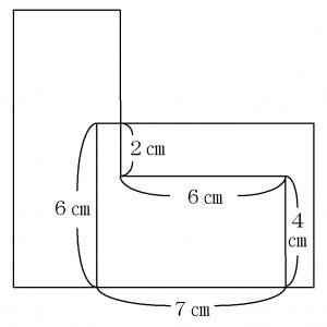
2つの図形が重なり始めてから7秒後の2つの図形の重なり方は,下の図のようになります。

したがって,重なった部分の面積は,6×7-2×6=30(㎠)です。
答え 30㎠
〔3〕
面白さ☆ 難度A
2つの図形が重なった部分の面積が最大になるときを考えます。
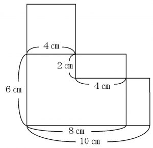
このとき,図形「あ」の左はしの10㎝の辺と,図形「い」の左はしの6㎝の辺が重なり,
2つの図形の重なり方は下の図のようになります。

したがって,
(ア)にあてはまる数は,6×8-2×4=40,
(イ)にあてはまる数は,10÷1=10です。
答え ア 40 イ 10
〔4〕
面白さ☆☆☆ 難度B
図形「あ」の面積は,10×10-6×6=64(㎠)なので,
2つの図形が重なった部分の面積が,64÷2=32(㎠)になるときを考えます。
グラフから,2つの図形が重なった部分の面積が32㎠になることが,2回あることがわかります。
さらに,2つの図形が重なり始めてから6秒後の2つの図形が重なった部分の面積が24㎠,
〔3〕から,2つの図形が重なり始めてから10秒後の2つの図形が重なった部分の面積が40㎠
であることがわかっているので,6秒後と10秒後の重なり方を基準にすると考えやすくなります。
まず,1回目の2つの図形の重なり方は下の図のようになります。

このとき,長方形ABCDの面積は,
32-24=8(㎠)なので,BC=8÷6=1+1/3(㎝)です。
したがって,2つの図形が重なり始めてから,
6+(1+1/3)÷1=7+1/3(秒後)になります。
次に,2回目の2つの図形の重なり方は下の図のようになります。

このとき,長方形EFGHの面積は,32-6×4=8(㎠)なので,FG=8÷4=2(㎝)です。
2つの図形が重なり始めて10秒後から,図形「あ」がさらに,8-4-2=2(㎝)だけ動いているので,
2つの図形が重なり始めてから,10+2÷1=12(秒後)になります。
答え 7+1/3(秒後) と 12秒後
大問Ⅴ

〔1〕
面白さ☆ 難度A
タイヤの直径が60㎝なので,タイヤが1回転すると自転車は,60×3.14=188.4(㎝)進みます。
答え 188.4㎝
〔2〕
面白さ☆ 難度A
ペダルを1回転させると,ペダルの歯車が35個分動くので,後輪の歯車も35個分動きます。
後輪の歯車が14個分動くごとに後輪が1回転するので,このとき,後輪は,35÷14=2.5(回転)します。
答え 2.5回転
〔3〕
面白さ☆ 難度A
〔2〕から,ペダルを1回転させると,後輪が2.5回転することがわかっているので,
60×3.14×2.5=150×3.14=471(㎝)進みます。
答え 471㎝
このとき,
「タツオ君の自転車は,ペダルを1回転させるごとに,150×3.14(㎝)だけ進む」
というように,進む長さを式の形で確認しておくと,〔4〕と〔5〕の計算が容易になります。
〔4〕
面白さ☆☆ 難度A
〔2〕と同様に考えます。
ケイコさんの自転車は,ペダルを1回転させると,
後輪が,39÷13=3(回転)することがわかります。
ケイコさんの自転車のタイヤの直径を□㎝とすると,
□×3.14×3 = 150×3.14 となるので,
□ = (150×3.14)÷(3.14×3) = 150÷3 = 50(㎝) とわかります。
答え 50㎝
〔5〕
面白さ☆☆☆ 難度B
〔2〕と同様に考えます。
ショウコさんの自転車は,ペダルを1回転させると,
後輪が,50÷16=25/8(回転)することがわかります。
したがって,ショウコさんが1分間にペダルを48回転させると,ショウコさんの自転車は,
64×3.14×25/8×48 = 64×(25/8×48)×3.14 = 64×150×3.14(㎝) だけ進みます。
タツオ君が1分間にペダルを□回転させるとすると,
150×3.14×□ = 64×150×3.14 となるので,
□ = (64×150×3.14)÷(150×3.14) = 64(回転) とわかります。
答え 64回転